近日,苏州赛德克再获一项“一种高速动平衡用可变刚性摆架”发明专利(专利号:ZL 2023 1 0517709.8)。该专利适用于转子超高转速动平衡测试,专利的成功取得充分彰显了企业在高速动平衡测试领域的创新硬实力。

据介绍,高速动平衡及超速试验装备被誉为工业装备的“CT”和“核磁共振”,是保障航空发动机、汽轮机、燃气轮机、高端压缩机、风力发电主轴等涉及国家安全与能源命脉核心装备长期稳定运行的关键设备。
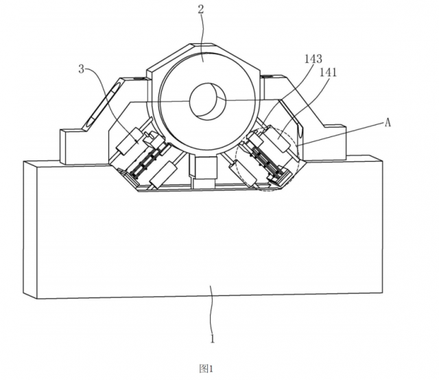
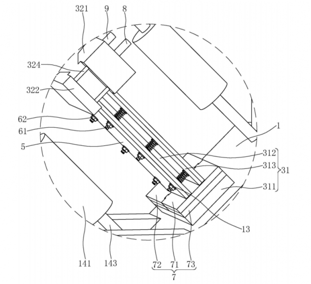
“转子在制造过程中难免存在公差与缺陷,高速转动时会产生不同的径向应力。但现有摆架大多是固定刚性设计,面对不同径向应力时,摆架与承载座容易出现振动,直接导致动平衡测量精度下降。”苏州赛德克技术研发负责人解释道。此次获批的可变刚性摆架发明专利,可以有效处理测试精度下降的问题。该摆架由架体、承载座、多组刚性调节机构及连接件组成,通过连接组件实现架体与承载座的稳固连接,大幅提升承载座对径向应力的承载能力,从源头减缓振动;同时,调节组件可灵活调整连接部位的刚性,进一步抑制承载座与架体的振动干扰,确保动平衡测量结果的准确性。


目前,该专利技术已成功集成至赛德克新一代高速动平衡试验机中。这款试验机可适配重量≤100kg、直径≤300mm的转子产品,包括新能源电机转子、压缩机转子、航空发动机转子及汽轮机转子等,最大测试转速可达40000rpm。设备采用100KW水冷测试电机、可变刚性摆架内置用于抑制共振的变刚度油缸及轴瓦、符合GB/T 9239.23-2022/ISO 21940-23:2012标准的C级防爆真空筒体、抽真空装置、油站/油路系统及中央控制检测系统,形成一套全流程、高可靠的测试方案。据介绍,该高速动平衡试验机已完成调试工作,并使用多款产品进行多轮测试,预计2026年可正式投入使用。


苏州赛德克总经理朱灿好表示:“高速动平衡机的研发难度远超普通测试设备,对机械设计、电控系统、减震技术等多领域的协同创新提出了高要求。我们之所以坚持投入核心技术研发,一方面是看到国家在航空航天、新能源、高端装备制造等领域的战略需求,这些领域的发展离不开高精度测试装备的支撑;另一方面,作为本土企业,我们希望打破国外在高端动平衡设备领域的技术垄断,为国内核心装备企业提供更具性价比、更贴合需求的国产化方案,助力国产高端装备产业实现高质量发展。”
- 苏州赛德克测控技术有限公司
- 苏州赛德克平衡机为星立方精密机械科技提供自动激光去重平衡机
- 苏州赛德克测控技术有限公司成功取得新型专利证书
- 共筑智能装备新生态 苏州赛德克与宁波宝铂达成战略合作
- 苏州赛德克测控技术再获实用新型专利证书
- 温情贺卡暖人心 赛德克福利体系彰显企业人文关怀
- 苏州赛德克测控技术有限公司荣获“一种水平快速移载装置”实用新型专利
- 赛德克平衡机即将亮相2025杭州国际人形机器人展
- 苏州赛德克测控再获一项实用新型专利 为贯流风扇叶轮动平衡检测提供强有力技术支持
- 苏州赛德克:以“家”为核,以智为翼,平衡之道铸就精密未来
- 筑牢“护城河” 赛德克平衡机组织法律赋能活动助力企业知识产权保卫战
- 苏州赛德克开展全员消防知识培训暨实战演练 筑牢企业安全防线
- 苏州赛德克平衡机创新成果获国家专利授权 助力精密制造再升级